跟音频编码一样,视频编码最重要的目的也是为了进行数据压缩,以此来降低数据传输和存储成本。
以一路分辨率 720×1280(常说的 720P),帧率为 30 fps 的视频为例,如果不经过编码压缩,直接传输或存储原始的 RGB 数据,对应的码率是:720 * 1280 * 3 * 8 * 30 = 632.8125 Mbps (宽 * 高 * 像素字节数 * 字节比特数 * 帧数)。一分钟的时间所需要的数据量是:632.8125 Mbps * 60s = 4.63 GB。
这个数据量很大,需要很高的存储或传输成本,因此需要采用编码压缩技术以减少码率。
通常,对信息进行压缩,可以从这几个方面着手:
- 1)信源包含的符号出现概率的非均匀性,使得信源是可以被压缩的。熵编码就利用信源的统计特性进行码率压缩的编码方式。比如著名的哈夫曼编码(也是熵编码的一种),就是当信源中各符号的出现概率都一样时编码效率最低。
- 2)信源的相关性,使得信源是可以被压缩的。比如信息 A 和信息 B 的相关性,使得我们可以由信息 A 加残差 D(D = A – B) 来推导信息 B,这样只编码 A 和 D 来实现压缩,这就是所谓的差分编码技术。
- 3)人的感知对不同信源的敏感度不一样,使得信源是可以被压缩的。对人感知不敏感的信息进行部分或全部忽略来实现压缩。
要对视频进行编码,则主要是研究视频数据中的冗余信息,并对其进行压缩。视频信息主要包括这几个方面的冗余:
- 空间冗余:在同一张帧之中,相邻的像素之间通常有很强的关连性,这样的关连性即为空间上的冗余信息。
- 时间冗余:在视频信息中,相邻的帧与帧之间通常有很强的关连性,这样的关连性即为时间上的冗余信息。
- 编码冗余:视频中不同数据出现的概率不同,欲编码的符号的几率分布是不均匀的。
- 视觉冗余:人的视觉系统对某些细节不敏感。视觉上的冗余信息是指在人在观看视频时,人眼无法察觉的信息。
现在常见的视频编码格式有 3 个大的系列,分别由不同的组织主导制定:
1)ISO-MPEG/ITU-T 系列:由国际标准组织机构(ISO)下属的运动图象专家组(MPEG)和国际电传视讯联盟远程通信标准化组织(ITU-T)开发的系列编码标准。
- H.264,也被称为高级视频编码(Advanced Video Coding,简称 AVC),是一种被广泛使用的高精度视频的录制、压缩和发布格式。该标准引入了一系列新的能够大大提高压缩性能的技术,并能够同时在高码率端和低码率端大大超越以前的诸标准。
- H.265,也被称为高效率视频编码(High Efficiency Video Coding,简称 HEVC),是 H.264 的继任者。HEVC 被认为不仅提升图像质量,同时也能达到 H.264 两倍的压缩率(等同于同样画面质量下比特率减少了 50%),可支持 4K 分辨率甚至到超高画质电视,最高分辨率可达到 8192×4320(8K 分辨率),这是目前发展的趋势。
- H.266,也被称为多功能视频编码(Versatile Video Coding,简称 VVC),是 H.265 的继任者。VVC 对 8K 超高清、屏幕、高动态和 360 度全景视频等新的视频类型以及自适应带宽和分辨率的流媒体和实时通信等应用有了更好的支持。根据最近的 JVET 官方主观测试结果,VVC 的平均编码性能相对 HEVC 的提高已经可以达到 49%。
2)AOM 系列:前身是由 Google 主导的 VPx 系列的编码标准。后续由多家公司组件成立了开放媒体联盟(Alliance for Open Media,AOM)继续开发新的编码标准。
- VP8,是一个开放的图像压缩格式,最早由 On2 Technologiesis 开发,随后由 Google 发布。同时 Google 也发布了 VP8 编码的实做库:libvpx,以 BSD 授权条款的方式发布,随后也附加了专利使用权。而在经过一些争论之后,最终 VP8 的授权确认为一个开放源代码授权。
- VP9,是 Google 提供的开源的免费视频编码格式,是 VP8 的后续版本。
- AV1,Alliance for Open Media Video 1 是由 AOM(Alliance for Open Media,开放媒体联盟)制定的一个开源、免版权费的视频编码格式,目标是解决 H.265 昂贵的专利费用和复杂的专利授权问题并成为新一代领先的免版权费的编码标准。此外,AV1 是 Google 制定的 VP9 标准的继任者,也是 H.265 强有力的竞争者。
3)AVS 系列:AVS(Audio Video coding Standard)是中国具备自主知识产权的系列编码标准。
- AVS2,第二代数字音视频编解码技术标准(AVS2),其首要应用目标是超高清晰度视频,支持超高分辨率(4K 以上)、高动态范围视频的高效压缩。
- AVS3,AVS3 增加了对 8K 分辨率的支持,该技术将使用于中央广播电视总台 8K 超高清频道。
这里我们只对 H.264、H.265、H.266 做一下介绍。
1、H.264 编码
1.1、基本概念
1.1.1、句法元素分层结构
H.264 中,句法元素可以分为『序列』、『图像』、『片』、『宏块』、『子宏块』五个层次。

在 H.264 中,分层结构相较之前最大的不同是取消了序列层和图像层,并将原本属于序列和图像头部的大部分句法元素游离出来形成序列和图像两级参数集,其余的部分则放入片层。在这种机制下,由于参数集是独立的,可以被多次重发或者采用特殊技术加以保护。参数集与参数集外部的句法元素处于不同信道中,这是 H.264 的一个建议,我们可以使用更安全但成本更昂贵的通道来传输参数集。

1.1.2、软件和硬件编解码
编解码分为软编软解和硬编硬解:
- 软编/软解: CPU 处理。
- 硬编/硬解: 使用显卡 GPU、专用 SDP 等其它芯片硬件处理。
软编用的是 CPU 处理,优点是调节能力比较强,相对于硬编,软编可以通过参数调整可以在同一码率下编码出清晰度更高的视频,此外软编可以兼容性更好,可以适配所有设备,但缺点是性能可能比较差,不如硬编速度快、功耗低。
软解相对于硬解,则是性能可能较差,不如硬解功耗低,但是兼容性更好,适配性更好。
目前移动应用大部分业务场景采用的编码策略是:手机端尽量采用硬编编码出一路高清的视频,将高清视频发送给服务器,由服务器再进行软编转码为多路码率的视频,再通过 CDN 分发给观看端。另外,安卓的一些低端机可能由于硬件问题对硬编支持不完善,这时候可以使用软编,或者硬编出错的情况可以切换为软编来兜底。当然有时候,对于一些性能优越的高端机型或者编码时长不多的业务场景也可以优先用软编,例如录制 15 秒短视频的场景,首先时间比较短并且机器性能高不怕 CPU 消耗,这样相同码率可以再提高清晰度。
对于大部分的应用场景的解码策略则主要采用硬解,用软解作为兜底。此外,对于一些硬解不支持的编码类型,可以使用软解,比如有的机型不支持 H.265 解码,则只能使用软解。
1.1.3、序列
H.264 编码的方式可以这样理解:在视频中,一段时间内相邻的图像的像素、亮度与色温的差别通常很小。所以没必要去对一段时间内的每一幅图像都进行完整一帧的编码,而是可以选取这段时间的第一帧图像进行完整编码,而下一幅图像只记录与第一帧完整编码图像的像素、亮度与色温等特征的差别即可,以此类推循环下去。
什么叫序列呢?上述的这段时间内图像变化不大的图像集就可以称之为一个序列。序列可以理解为有相同特点的一段图像数据。但是如果某个图像与之前的图像变换很大,很难参考之前的帧来生成新的帧,那么就结束上一个序列,开始下一个序列。重复上述做法,生成新的一段序列。
1.1.4、帧类型
H.264 结构中,一幅视频图像编码后的数据叫做一帧,一帧由一个片(slice)或多个片组成,一个片由一个或多个宏块(MB)组成,一个宏块由 16x16 的 YUV 数据组成。宏块是 H.264 编码的基本单位。
在 H.264 协议内定义了三种帧,分别是 I 帧、B 帧与 P 帧。
1)I 帧
I 帧,即帧内编码图像帧,不参考其他图像帧,只利用本帧的信息进行编码。
I 帧的特点:
- 它是一个全帧压缩编码帧,将全帧图像信息进行压缩编码及传输;
- 解码时仅用 I 帧的数据就可重构完整图像;
- I 帧描述了图像背景和运动主体的详情;
- I 帧不需要参考其他画面而生成;
- I 帧是 P 帧和 B 帧的参考帧,其质量直接影响到同组中以后各帧的质量;
- 一般地,I 帧是图像组 GOP 的基础帧(第一帧),在一组中只有一个 I 帧;
- I 帧所占数据的信息量比较大。
I 帧编码流程:
- 进行帧内预测,决定所采用的帧内预测模式;
- 当前像素值减去预测值,得到残差;
- 对残差进行变换和量化;
- 变长编码和算术编码;
- 重构图像并滤波,得到的图像作为其它帧的参考帧。
2)P 帧
P 帧,即预测编码图像帧,利用之前的 I 帧或 P 帧,采用运动预测的方式进行帧间预测编码。
P 帧的预测与重构:P 帧是以 I 帧为参考帧,在 I 帧中找出 P 帧『某点』的预测值和运动矢量,取预测差值和运动矢量一起传送。在接收端根据运动矢量从 I 帧中找出 P 帧『某点』的预测值并与差值相加以得到 P 帧『某点』样值,从而可得到完整的 P 帧。
P 帧特点:
- P 帧是 I 帧后面相隔 1-2 帧的编码帧;
- P 帧采用运动补偿的方法传送它与前面的 I 或 P 帧的差值及运动矢量(预测误差);
- P 帧属于前向预测的帧间编码,它只参考前面最靠近它的 I 帧或 P 帧;
- P 帧可以是其后面 P 帧的参考帧,也可以是其前后的 B 帧的参考帧;
- 由于 P 帧是参考帧,它可能造成解码错误的扩散;
- 由于是差值传送,P 帧的压缩比较高。
P 帧编码的基本流程:
- 进行运动估计,计算采用帧间编码模式的率失真函数值。P 帧只参考前面的帧;
- 进行帧内预测,选取率失真函数值最小的帧内模式与帧间模式比较,确定采用哪种编码模式;
- 计算实际值和预测值的差值;
- 对残差进行变换和量化;
- 若编码,如果是帧间编码模式,编码运动矢量。
3)B 帧
B 帧,即双向预测编码图像帧,提供最高的压缩比,它既需要之前的图像帧(I 帧或 P 帧),也需要后来的图像帧(P 帧),采用运动预测的方式进行帧间双向预测编码。
B 帧的预测与重构:B 帧以前面的 I 或 P 帧和后面的 P 帧为参考帧,找出 B 帧『某点』的预测值和两个运动矢量,并取预测差值和运动矢量传送。接收端根据运动矢量在两个参考帧中找出预测值并与差值求和,得到 B 帧『某点』样值,从而可得到完整的 B 帧。
B 帧特点:
- B 帧是由前面的 I 或 P 帧和后面的 P 帧来进行预测的;
- B 帧传送的是它与前面的 I 或 P 帧和后面的 P 帧之间的预测误差及运动矢量;
- B 帧是双向预测编码帧;
- B 帧压缩比最高,因为它只反映两参考帧间运动主体的变化情况,预测比较准确;
- B 帧不是参考帧,不会造成解码错误的扩散。
B 帧编码的基本流程:
- 进行运动估计,计算采用帧间编码模式的率失真函数值。B 帧可参考后面的帧;
- 进行帧内预测,选取率失真函数值最小的帧内模式与帧间模式比较,确定采用哪种编码模式;
- 计算实际值和预测值的差值;
- 对残差进行变换和量化;
- 若编码,如果是帧间编码模式,编码运动矢量。
率失真函数的相关简介:
有损压缩算法,性能由编码输出的比特率和失真共同决定。
编码的目的:就是在保证一定视频质量的条件下尽量减少编码比特率,或在一定编码比特率限制条件下尽量地减小编码失真。
编码器的工作:根据以上率失真准则找到最佳编码参数。
信息论中率失真概念:在允许一定程度失真的条件下,能够把信源信息压缩到什么程度,即最少需要多少比特数才能描述信源。由此得到率失真函数:
R(D) = min I(X, Y),它给出了限定失真条件下信息压缩允许的下界。但其在视频编码中难以应用,因为各种概率和条件概率未知,只能作为理论值。视频编码中的率失真曲线:为了研究视频码率与视频质量的平衡。由于系统性,不能达到理论上的 R(D) 值,只能由不同的编码参数(如 QP 和选择的模式)得到有限的 (R, D) 可操作点,形成凸包络。
视频编码中的率失真优化(RDO):遍历所有的参数候选模式对视频进行编码,满足码率限制的失真最小的一组参数集作为最优的视频编码参数。每一层级都找出,最终使整体系统性能最优。这里假设了无相关性的独立优化,如相关性较强则共同优化。
1.1.5、DTS 和 PTS
DTS、PTS 的概念如下所述:
- DTS(Decoding Time Stamp):即解码时间戳,这个时间戳的意义在于告诉播放器该在什么时候解码这一帧的数据。
- PTS(Presentation Time Stamp):即显示时间戳,这个时间戳用来告诉播放器该在什么时候显示这一帧的数据。
需要注意的是:虽然 DTS、PTS 是用于指导播放端的行为,但它们是在编码的时候由编码器生成的。
当视频流中没有 B 帧时,通常 DTS 和 PTS 的顺序是一致的。但如果有 B 帧时,就回到了我们前面说的问题:解码顺序和播放顺序不一致了。
比如一个视频中,帧的显示顺序是:I B B P,现在我们需要在解码 B 帧时知道 P 帧中信息,因此这几帧在视频流中的顺序可能是:I P B B,这时候就体现出每帧都有 DTS 和 PTS 的作用了。DTS 告诉我们该按什么顺序解码这几帧图像,PTS 告诉我们该按什么顺序显示这几帧图像。顺序大概如下:
Stream: I P B B
DTS: 1 2 3 4
PTS: 1 4 2 3
1.1.6、GOP
GOP(Group Of Pictures)是图像组的概念,它指的是视频编码序列中两个 I 帧之间的距离。通常意义上的 GOP 由 I 帧开始,到下一个 I 帧之前的帧结束。严格意义上讲,这个 I 帧是一个 IDR 帧。
H.264 使用的是封闭 GOP(Closed GOP),即在一个 GOP 中所有帧的解码不依赖该 GOP 外的其他帧,除了第一帧必须是 I 帧,其他帧可以是 P 帧或 B 帧。

上图中是一个 GOP 为 15 帧的例子,如果视频的帧率是 15 fps,那么这个 GOP 就是 1s 时长。
关键帧的间隔调节会影响 GOP 的长度,进而影响到读取 GOP 的速度,为防止运动变化,一个 GOP 组内帧数不宜取多。如果关键帧的间隔设置过大的话(GOP 长度过大),在必须用到关键帧的场合就可能被迫使用 B/P 帧来代替,这就会降低画面质量。
1.1.7、IDR 帧
IDR 帧全称叫做 Instantaneous Decoder Refresh,是 I 帧的一种。IDR 帧的作用是立刻刷新,重新算一个新的序列开始编码,使错误不致传播。I 帧有被跨帧参考的可能,但 IDR 帧不会。
比如:
IDR1 P2 B3 B4 P5 B6 B7 I8 B9 B10 P11 B12 B13 P14 B15 B16
这里的 B8 可以跨过 I8 去参考 P7。
IDR1 P2 B3 B4 P5 B6 B7 IDR8 B9 B10 P11 B12 B13 P14 B15 B16
这里的 B9 就不可以参考 IDR8 前面的帧。
H.264 引入 IDR 帧是为了解码的重同步,当解码器解码到 IDR 帧时,立即将参考帧队列清空,将已解码的数据全部输出或抛弃,重新查找参数集,开始一个新的序列。这样,如果前一个序列出现错误,在这里可以获得重新同步的机会,不会将错误传导下去。IDR 帧之后的帧永远不会使用 IDR 帧之前的帧来解码。
所以总结下来,IDR 帧有如下特性:
- IDR 帧一定是 I 帧,严格来说 I 帧不一定是 IDR 帧(但一般 I 帧就是 IDR 帧);
- 对于 IDR 帧来说,在 IDR 帧之后的所有帧都不能引用任何 IDR 帧之前的帧的内容。与此相反,对于普通的 I 帧来说,位于其之后的 B 和 P 帧可以引用位于普通 I 帧之前的 I 帧(普通 I 帧有被跨帧参考的可能);
- 播放器永远可以从一个 IDR 帧播放,因为在它之后没有任何帧引用之前的帧。因此,视频开头的 I 帧一定是 IDR 帧;一个封闭类 GOP 的开头的 I 帧也一定是 IDR 帧。
1.1.8、压缩方式
H.264 采用的核心算法是『帧内压缩』和『帧间压缩』,帧内压缩是生成 I 帧的算法,帧间压缩是生成 B 帧和 P 帧的算法。
帧内压缩也称为空间压缩。当压缩一帧图像时,仅考虑本帧的数据而不考虑相邻帧之间的冗余信息,这实际上与静态图像压缩类似。帧内一般采用有损压缩算法,由于帧内压缩是编码一个完整的图像,所以可以独立的解码、显示。帧内压缩一般达不到很高的压缩率,跟编码 JPEG 差不多。
帧间压缩的原理是:相邻几帧的数据有很大的相关性,或者说前后两帧信息变化很小的特点。也即连续的视频其相邻帧之间具有冗余信息,根据这一特性,压缩相邻帧之间的冗余量就可以进一步提高压缩量,减小压缩比。帧间压缩也称为时间压缩,它通过比较时间轴上不同帧之间的数据进行压缩。帧间压缩一般是无损的。帧差值算法是一种典型的时间压缩法,它通过比较本帧与相邻帧之间的差异,仅记录本帧与其相邻帧的差值,这样可以大大减少数据量。
编码压缩的步骤大致如下:
- 分组,也就是将一系列变换不大的图像归为一个组,也就是一个序列,也就是 GOP;
- 定义帧,将每组的图像帧归分为 I 帧、P 帧和 B 帧三种类型;
- 预测帧,以 I 帧做为基础帧,以 I 帧预测 P 帧,再由 I 帧和 P 帧预测 B 帧;
- 数据传输,最后将 I 帧数据与预测的差值信息进行存储和传输。
1.2、分层结构
H.264 的主要目标是为了有高的视频压缩比和良好的网络亲和性,为了达成这两个目标,H.264 的解决方案是将系统框架分为两个层面:『视频编码层面(VCL)』和『网络抽象层面(NAL)』。

- 视频编码层(VCL),是对视频编码核心算法过程、子宏块、宏块、片等概念的定义。这层主要是为了尽可能的独立于网络来高效的对视频内容进行编码。编码完成后,输出的数据是 SODB(String Of Data Bits)。
- 网络适配层(NAL),是对图像序列、图像等片级别以上的概念的定义。这层负责将 VCL 产生的比特字符串适配到各种各样的网络和多元环境中。该层将 VCL 层输出的 SODB 数据打包成 RBSP(Raw Byte Sequence Payload)。SODB 是编码后的原始数据,RBSP 是在原始编码数据后面添加了结尾比特,一个比特 1 和若干个比特 0,用于字节对齐。然后再在 RBSP 头部加上 NAL Header 来组成一个一个的 NAL 单元。
从视频编码层(VCL)角度去看 H.264 的结构:


从网络适配层(NAL)角度去看 H.264 的结构:



1.3、编码工具
下图为一个典型的视频编码器。在进行当前信号编码时,编码器首先会产生对当前信号做预测的信号,称作预测信号(Predicted Signal),预测的方式可以是时间上的帧间预测(Inter Prediction),亦即使用先前帧的信号做预测,或是空间上的帧内预测(Intra Prediction),亦即使用同一张帧之中相邻像素的信号做预测。得到预测信号后,编码器会将当前信号与预测信号相减得到残差信号(Residual Signal),并只对残差信号进行编码,如此一来,可以去除一部分时间上或是空间上的冗余信息。接着,编码器并不会直接对残差信号进行编码,而是先将残差信号经过变换(通常为离散余弦变换)然后量化以进一步去除空间上和感知上的冗余信息。量化后得到的量化系数会再透过熵编码,去除统计上的冗余信息。

H.264 的编解码流程如下:

1.3.1、帧内预测
一般来说,对于一帧图像,相邻两个像素的亮度和色度值之间通常是比较接近的,也就是颜色是逐渐变化的,不会一下子突变成完全不一样的颜色。而进行视频编码,目的就是利用这个相关性,来进行压缩。帧内预测就是基于这个原理。
假设现在我们要对一个像素 X 进行编码,在编码这个像素之前,我们找到它临近的像素作为参考像素 X’,根据 X’ 我们经过预测算法得到对像素 X 的预测值 Xp,然后我们再用 X 减去 Xp 得到二者的残差 D,并用这个残差 D 代替 X 进行编码,起到节省码率的作用。最后,我们还用预测值 Xp 和残差 D 相加得到 X’ 用于下一个像素的预测。这个就是我们用帧内预测进行编码压缩的大体思想。
在实际编码中,我们固然可以按像素为单位进行预测,但这样效率比较低,所以在 H.264 标准中提出按照块为单位进行计算。一个宏块是 16×16 像素,它可以分成子块,最小是 4×4 的(这个大小是对于亮度编码而言,至于色度编码,4:2:0 采样格式的色度宏块的长和宽都是亮度宏块的一半),这样能大大提高计算速度。
在帧内预测模式中,预测块是基于已编码重建的块和当前块形成的。对亮度像素而言,预测块用于 4×4 子块或者 16×16 宏块的相关操作。4×4 亮度子块有 9 种可选预测模式,独立预测每一个 4×4 亮度子块,适用于带有大量细节的图像编码;16×16 亮度块有 4 种预测模式,预测整个 16×16 亮度块,适用于平坦区域图像编码;色度块也有 4 种预测模式,类似于 16×16 亮度块预测模式。编码器通常选择使预测块和编码块之间差异最小的预测模式。
1.3.2、帧间预测
帧间预测就是时域预测,旨在消除时域冗余信息,简单点说就是利用之前编码过的图像来预测要编码的图像。其中涉及到两个重要的概念:运动估计和运动补偿。
运动估计是寻找当前编码的块在已编码的图像(参考帧)中的最佳对应块,并且计算出对应块的偏移(运动矢量)。
运动补偿是根据运动矢量和帧间预测方法,求得当前帧的估计值过程。其实就是将运动矢量参数贴到参考帧上获取当前帧。另外运动补偿是一个过程。
H.264 帧间预测是利用已编码视频帧/场和基于块的运动补偿的预测模式。与以往标准帧间预测的区别在于块尺寸范围更广(从 16×16 到 4×4)、亚像素运动矢量的使用(亮度采用 1/4 像素精度 MV)及多参考帧的运用等等。
每个宏块(16×16 像素)可以 4 种方式分割:一个 16×16,两个 16×8,两个 8×16,四个 8×8。其运动补偿也相应有四种。而 8×8 模式的每个子宏块还可以四种方式分割:一个 8×8,两个 4×8 或两个 8×4 及 4 个 4×4。这些分割和子宏块大大提高了各宏块之间的关联性。这种分割下的运动补偿则称为树状结构运动补偿。
每个分割或子宏块都有一个独立的运动补偿。每个 MV 必须被编码、传输,分割的选择也需编码到压缩比特流中。对大的分割尺寸而言, MV 选择和分割类型只需少量的比特,但运动补偿残差在多细节区域能量将非常高。小尺寸分割运动补偿残差能量低,但需要较多的比特表征 MV 和分割选择。分割尺寸的选择影响了压缩性能。整体而言,大的分割尺寸适合平坦区域,而小尺寸适合多细节区域。
宏块的色度成分(Cr 和 Cb)则为相应亮度的一半(水平和垂直各一半)。色度块采用和亮度块同样的分割模式,只是尺寸减半(水平和垂直方向都减半)。例如,8×16 的亮度块相应色度块尺寸为 4×8,8×4 亮度块相应色度块尺寸为 4×2 等等。色度块的 MV 也是通过相应亮度 MV 水平和垂直分量减半而得。
1.3.3、变换和量化
绝大多数图像都有一个共同的特征:平坦区域和内容缓慢变化区域占据一幅图像的大部分,而细节区域和内容突变区域则占小部分。也可以说,图像中直流和低频区占大部分,高频区占小部分。这样,空间域的图像变换到频域或所谓的变换域,会产生相关性很小的一些变换系数,并可对其进行压缩编码,即所谓的变换编码。
此外,为了减小图像编码的动态范围,一般也会进行量化。
在图像编码中,变换编码和量化从原理上讲是两个独立的过程。但在 H.264 中,将两个过程中的乘法合二为一,并进一步采用整数运算,减少编解码的运算量,提高图像压缩的实时性。
H.264 对图像或预测残差采用了 4×4 整数离散余弦变换(DCT)技术,避免了以往标准中使用的通用 8×8 离散余弦变 换逆变换经常出现的失配问题。量化过程根据图像的动态范围大小确定量化参数,既保留图像必要的细节,又减少码流。
1.3.4、熵编码
熵的大小与信源的概率模型有着密切的关系,各个符号出现的概率不同,信源的熵也不同。当信源中各事件是等概率分布时,熵具有极大值。信源的熵与其可能达到的最大值之间的差值反映了该信源所含有的冗余度。信源的冗余度越小,即每个符号所独立携带的信息量越大,那么传送相同的信息量所需要的序列长度越短,符号位越少。因此,数据压缩的一个基本的途径是去除信源的符号之间的相关性,尽可能地使序列成为无记忆的,即前一符号的出现不影响以后任何一个符号出现的概率。
利用信源的统计特性进行码率压缩的编码就称为熵编码,也叫统计编码。熵编码是无损压缩编码方法,它生成的码流可以经解码无失真地恢复出原数据。熵编码是建立在随机过程的统计特性基础上的。
视频编码常用的有两种:变长编码(哈夫曼编码)、算术编码。
H.264 最后将结果进行熵编码,分为上下文自适应的变长编码(Context-based Adaptive Variable-Length Coding,CAVLC)与上下文自适应的二进制算术编码(Context-based Adaptive Binary Arithmetic Coding,CABAC)。
在 H.264 的 CAVLC(基于上下文自适应的可变长编码)中,通过根据已编码句法元素的情况动态调整编码中使用的码表,取得了极高的压缩比。CAVLC 用于亮度和色度残差数据的编码。残差经过变换量化后的数据表现出如下特性:4×4 块数据经过预测、变换、量化后,非零系数主要集中在低频部分,而高频系数大部分是零;量化后的数据经过 zig-zag 扫描,DC 系数附近的非零系数值较大,而高频位置上的非零系数值大部分是 +1 和 -1;相邻的 4×4 块的非零系数的数目是相关的。CAVLC 充分利用残差经过整数变换、量化后数据的特性进行压缩,进一步减少数据中的冗余信息,为 H.264 卓越的编码效率奠定了基础。
算术编码的思想是用 0 到 1 的区间上的一个数来表示一个字符输入流,它的本质是为整个输入流分配一个码字,而不是给输入流中的每个字符分别指定码字。算术编码是用区间递进的方法来为输入流寻找这个码字的,它从于第一个符号确定的初始区间(0 到 1)开始,逐个字符地读入输入流,在每一个新的字符出现后递归地划分当前区间,划分的根据是各个字符的概率,将当前区间按照各个字符的概率划分成若干子区间,将当前字符对应的子 2 区间取出,作为处理下一个字符时的当前区间。到处理完最后一个字符后,得到了最终区间,在最终区间中任意挑选一个数作为输出。解码器按照和编码相同的方法和步骤工作,不同的是作为逆过程,解码器每划分一个子区间就得到输入流中的一个字符。在实际过程中,输入流中字符的概率分布是动态改变的,这需要维护一个概率表去记录概率变化的信息。在作递进计算时,通过对概率表中的值估计当前字符的概率,当前字符处理后,需要重新刷新概率表。这个过程表现为对输入流字符的自适应。编码器和解码器按照同样的方法估计和刷新 概率表,从而保证编码后的码流能够顺利解码。
用哈夫曼编码,必须为所有可能的长度为 N 的序列设计和存储码书,这样做的复杂度随 N 呈指数增长。用算术编码则不需要预先为每个可能的信源序列指定码书。而是每当所确定区间的下限和上限有公共最高有效位时,就可以连续地得到比特。编码序列的长度可以和信源的长度一样长。因此,实际上,算术编码可以更接近熵率。
算术编码的另一个优点是可以简单地通过更新符号概率表来实现对信源统计特性的自适应。通过对不同上下文用不同的概率表也可以容易地实现条件编码。对于哈夫曼编码,则不得不基于更新的概率表重新设计码书,或对不同的上下文设计多个码表。
由于较高的编码效率和易于自适应,只要所涉及的计算量是能接受的,无疑算术编码比哈夫曼编码是一种更好的选择。
1.4、码流结构
1.4.1、原始码流
H.264 原始码流(又称为裸流),是由一个接一个的 NAL 单元组成的(NAL Header 加上 RBSP 组成一个 NAL 单元),结构如下图所示:

在网络传输的环境下,编码器将每个 NAL 各自独立、完整地放入一个分组,由于分组都有头部,解码器可以很方便地检测出 NAL 的分界,依次取出 NAL 进行解码。为了节省码流,H.264 没有另外在 NAL 的头部设立表示起始的句法元素。但是如果编码数据是储存在介质(如 DVD 光盘)上,由于 NAL 是依次紧密排列,解码器将无法在数据流中分辨每个 NAL 的起始和终止,所以必须要有另外的机制来解决这个问题。
针对这个问题,H.264 草案的附录 B 中指明了一种简单又高效的方案。当数据流是存储在介质上时,在每个 NAL 前添加起始码:0x000001。这就是我们常说的 Annex-b 码流格式。
在某些类型的介质上,为了寻址的方便,要求数据流在长度上对齐,或必须是某个常数的倍数。考虑到这种情况,H.264 建议在起始码前添加若干字节的 0 来填充,直到该 NAL 的长度符合要求。在这样的机制下,解码器在码流中检测起始码,作为一个 NAL 的起始标识,当检测到下一个起始码时当前 NAL 结束。H.264 规定当检测到 0x00000001 时也可以表征上一个 NAL 的结束,下一个 NAL 开始,这是因为连着的三个字节的 0 中的任何一个字节的 0 要么属于起始码要么是起始码前面添加的 0。
添加起始码是一个解决问题的很好的方法,但上面关于起始码的介绍还不完整,因为忽略了一个重要的问题:如果在 NAL 内部出现了 0x000001 或是 0x00000001 的序列怎么办?毫无疑问这种情况是致命的,解码器将把这些本来不是起始码的字节序列当作起始码,而错误地认为这里往后是一个新的 NAL 的开始,进而造成解码数据的错位!而我们做的大量实验证明,NAL 内部经常会出现这样的字节序列。因为 0x000001 的情况是覆盖 0x00000001 的情况,所以下面值讨论如何处理 0x000001 即可。
于是 H.264 提出了另外一种机制,叫做防止竞争,在编码器编码完一个 NAL 时,应该检测是否出现下表左侧中的四个字节序列,以防止它们和起始码竞争。如果检测到这些序列存在,编码器将在最后一个字节前插入一个新的字节:0x03,从而使它们变成下表右侧的样子。当解码器在 NAL 内部检测到有 0x000003 的序列时,将把 0x03 抛弃,恢复原始数据。
0x000000 → 0x00000300
0x000001 → 0x00000301
0x000002 → 0x00000302
0x000003 → 0x00000303
上表中的前两个序列我们前文中已经提到,第三个 0x000002 是作保留用,而第四个 0x000003是为了保证解码器能正常工作,因为我们刚才提到,解码器恢复原始数据的方法是检测到 0x000003 就抛弃其中的 0x03,这样当出现原始数据为 0x000003 时会破坏数据,所以必须也应该给这个序列插入 0x03。
解码器在逐个字节地读一个 NAL 时并不同时对它解码,而是要通过起始码机制将整个 NAL 读进、计算出长度后再开始解码。
到此,我们就知道如何在原始码流里分割 NAL 单元了。接下来,我们再来了解每个 NAL 单元的结构。
1.4.2、NAL 单元
NAL 单元由 NAL Header 和 RBSP 构成。
NAL Header 的结构如下:

forbidden_zero_bit,第 0 位,表示禁止位,一般为值为 0,值为 1 表示语法错误。nal_ref_idc,第 1-2 位,表示当前 NAL 的优先级。取值范围为 0-3,值越高,表示当前 NAL 越重要,需要优先受到保护。H.264 规定如果当前 NAL 是属于参考帧的片,或是序列参数集,或是图像参数集这些重要的数据单位时,本句法元素必须大于 0。但在大于 0 时具体该取何值,却没有进一步规定,通信双方可以灵活地制定策略。nal_unit_type,第 3-7 位,表示当前 NAL 单元的类型。具体类型定义如下表:

nal_unit_type=5 时,表示当前 NAL 是 IDR 图像的一个片,在这种情况下,IDR 图像中的每个片的 nal_unit_type 都应该等于 5。注意 IDR 图像不能使用片分区。
1.4.3、RBSP
前面也介绍过,RBSP 指原始字节载荷,它是 NAL 单元的数据部分的封装格式,封装的数据来自 SODB(原始数据比特流)。SODB 是编码后的原始数据,SODB 经封装为 RBSP 后放入 NAL 的数据部分。
从 SODB 到 RBSP 的生成过程:
- 如果 SODB 内容是空的,生成的 RBSP 也是空的。
- 否则,RBSP 由如下的方式生成:
- 1)RBSP 的第一个字节直接取自 SODB 的第 1-8 个比特,(RBSP 字节内的比特按照从左到右对应为从高到低的顺序排列,most significant),以此类推,RBSP 其余的每个字节都直接取自 SODB 的相应比特。RBSP 的最后一个字节包含 SODB 的最后几个比特和
rbsp_trailing_bits()。 - 2)
rbsp_trailing_bits()的第一个比特是 1,接下来填充 0,直到字节对齐。 - 3)最后添加若干个
cabac_zero_word,其值等于0x0000。
- 1)RBSP 的第一个字节直接取自 SODB 的第 1-8 个比特,(RBSP 字节内的比特按照从左到右对应为从高到低的顺序排列,most significant),以此类推,RBSP 其余的每个字节都直接取自 SODB 的相应比特。RBSP 的最后一个字节包含 SODB 的最后几个比特和
1.4.4、NAL 单元的不同类型
上面讲到了 NAL 单元是有多种类型的,这里我们就其中重要的几种类型做一下讲解:
- SPS
- PPS
- SEI
- Slice
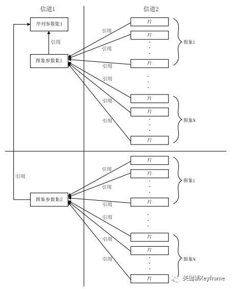
序列参数集、图像参数集与图像、片之间的关系:


1)序列参数集 SPS
SPS 中保存了一组编码后的图像序列的依赖的全局参数。
SPS 中的信息至关重要,如果其中的数据丢失,解码过程就可能失败。SPS 和 PPS 通常作为解码器的初始化参数。一般情况,SPS 和 PPS 所在的 NAL 单元位于整个码流的起始位置,但是在某些场景下,在码率中间也可能出现这两种结构:
- 解码器要在码流中间开始解码。比如,直播流。
- 编码器在编码过程中改变了码率的参数。比如,图像的分辨率。

SPS 其中的关键参数包括:
profile_idc: 表示当前 H.264 码流的编码档次。其中部分档次:- 基础档次:BaselineProfile (
profile_idc值为 66) - 主要档次:MainProfile (
profile_idc值为 77) - 扩展档次:ExtentedProfile (
profile_idc值为 88)
- 基础档次:BaselineProfile (
level_idc,表示当前码流的编码等级。编码的等级定义了某种条件下的最大视频分辨率、最大视频帧率等参数。seq_parameter_set_id,表示当前的序列参数集的 id。通过该 id 值,图像参数集 PPS 可以引用其关联的 SPS 中的参数。log2_max_frame_num_minus4,用于计算MaxFrameNum的值。计算公式为MaxFrameNum = 2 ^ (log2_max_frame_num_minus4 + 4)。变量MaxFrameNum表示frame_num的最大值,frame_num标识所属图像的解码顺序,在解码过程中它也是一个非常重要的变量。值得注意的是frame_num是循环计数的,即当它到达MaxFrameNum后又从 0 重新开始新一轮的计数。解码器必须要有机制检测这种循环,不然会引起类似千年虫的问题,在图像的顺序上造成混乱。pic_order_cnt_type,指明了 POC(Picture Order Count) 的编码方法,POC 标识图像的播放顺序。由于 H.264 使用了 B 帧预测,使得图像的解码顺序并不一定等于播放顺序,但它们之间存在一定的映射关系。POC 可以由 frame-num 通过映射关系计算得来,也可以索性由编码器显式地传送。H.264 中一共定义了三种 POC 的编码方法,这个句法元素就是用来通知解码器该用哪种方法来计算 POC。log2_max_pic_order_cnt_lsb_minus4,用于计算MaxPicOrderCntLsb的值。计算公式为MaxPicOrderCntLsb = 2 ^ (log2_max_pic_order_cnt_lsb_minus4 + 4)。MaxPicOrderCntLsb表示 POC 的最大值,该变量在pic_order_cnt_type = 0时使用。num_ref_frames,指定参考帧队列可能达到的最大长度,解码器依照这个句法元素的值开辟存储区,这个存储区用于存放已解码的参考帧,H.264 规定最多可用 16 个参考帧,本句法元素的值最大为 16。值得注意的是这个长度以帧为单位,如果在场模式下,应该相应地扩展一倍。gaps_in_frame_num_value_allowed_flag,这个句法元素等于 1 时,表示允许句法元素frame_num可以不连续。当传输信道堵塞严重时,编码器来不及将编码后的图像全部发出,这时允许丢弃若干帧图像。在正常情况下每一帧图像都有依次连续的frame_num值,解码器检查到如果frame_num不连续,便能确定有图像被编码器丢弃。这时,解码器必须启动错误掩藏的机制来近似地恢复这些图像,因为这些图像有可能被后续图像用作参考帧。当这个句法元素等于 0 时,表不允许frame_num不连续,即编码器在任何情况下都不能丢弃图像。这时,H.264 允许解码器可以不去检查frame_num的连续性以减少计算量。这种情况下如果依然发生frame_num不连续,表示在传输中发生丢包,解码器会通过其他机制检测到丢包的发生,然后启动错误掩藏的恢复图像。pic_width_in_mbs_minus1,本句法元素加 1 后指明图像宽度,以宏块为单位:frame_width = 16 * (pic_width_in_mbs_minus1 + 1),宏块尺寸是 16×16。通过这个句法元素解码器可以计算得到亮度分量以像素为单位的图像宽度:PicWidthInSamplesL = PicWidthInMbs * 16,从而也可以得到色度分量以像素为单位的图像宽度:PicWidthInSamplesC = PicWidthInMbs * 8。以上变量PicWidthInSamplesL、PicWidthInSamplesC分别表示图像的亮度、色度分量以像素为单位的宽。H.264 将图像的大小在 SPS 中定义,意味着可以在通信过程中随着 SPS 动态地改变图像的大小,甚至可以将传送的图像剪裁后输出。pic_height_in_map_units_minus1,本句法元素加 1 后指明图像高度:PicHeightInMapUnits = pic_height_in_map_units_minus1 + 1,PicSizeInMapUnits = PicWidthInMbs * PicHeightInMapUnits。图像的高度的计算要比宽度的计算复杂,因为一个图像可以是帧也可以是场,从这个句法元素可以
在帧模式和场模式下分别计算出出亮度、色度的高。值得注意的是,这里以map_unit为单位。frame_mbs_only_flag,本句法元素等于 0 时表示本序列中所有图像的编码模式都是帧,没有其他编码模式存在;本句法元素等于 1 时 ,表示本序列中图像的编码模式可能是帧,也可能是场或帧场自适应,某个图像具体是哪一种要由其他句法元素决定。结合map_unit的含义,这里给出上一个句法元素pic_height_in_map_units_minus1的进一步解析步骤:- 当
frame_mbs_only_flag等于 1,pic_height_in_map_units_minus1指的是一个 picture 中帧的高度; - 当
frame_mbs_only_flag等于 0,pic_height_in_map_units_minus1指的是一个 picture 中场的高度。 - 所以可以得到如下以宏块为单位的图像高度:
FrameHeightInMbs = ( 2 – frame_mbs_only_flag ) * PicHeightInMapUnits。PictureHeightInMbs= ( 2 – frame_mbs_only_flag ) * PicHeightInMapUnits。
- 当
2)图像参数集 PPS
PPS 中保存了每一帧编码后的图像所依赖的参数。

PPS 其中的关键参数包括:
pic_parameter_set_id,表示当前 PPS 的 id,相关联的各片通过这个 id 来引用对应的 PPS 参数。seq_parameter_set_id,表示当前 PPS 引用的 SPS 的 id。entropy_coding_mode_flag,表示熵编码的选择,本句法元素为 0 时,表示熵编码使用CAVLC,本句
法元素为 1 时表示熵编码使用CABAC。pic_order_present_flag,POC 的三种计算方法在片层还各需要用一些句法元素作为参数,本句法元素等于 1 时表示在片头会有句法元素表示这些参数;本句法元素等于 0 时,表示片头不会给出这些参数,这些参数使用默认值。num_slice_groups_minus1,本句法元素加 1 后表示图像中片组的个数。H.264 中没有专门的句法元素用于表示是否使用片组模式,当本句法元素等于 0 (即只有一个片组),表示不使用片组模式,后面也不会跟有用于计算片组映射的句法元素。slice_group_map_type,当num_slice_group_minus1大于 0,即使用片组模式时,本句法元素出现在码流中,用以表示片组分割类型。map_units的定义:- 帧场自适应模式时,
map_units指的是宏块对; - 场模式时,
map_units指的是宏块; - 帧模式时,
map_units指的是与宏块对相类似的,上下两个连续宏块的组合体。 - 当
frame_mbs_only_flag等于 1 时,map_units指的就是宏块; - 当
frame_mbs_only_falg等于 0 时:
- 帧场自适应模式时,
num_ref_idx_l0_active_minus1,加 1 后表示目前参考帧队列的长度,即有多少个参考帧(包括短期和长期)。值得注意的是,当目前解码图像是场模式下,参考帧队列的长度应该是本句法元素再乘以 2,因为场模式下各帧必须被分解以场对形式存在。(这里所说的场模式包括图像的场及帧场自适应下的处于场模式的宏块对) 本句法元素的值有可能在片头被重载。在序列参数集中有句法元素num_ref_frames也是跟参考帧队列有关,它们的区别是num_ref_frames表示参考帧队列的最大值,解码器用它的值来分配内存空间;num_ref_idx_l0_active_minus1表示在这个队列中当前实际的、已存在的参考帧数目,这从它的名字 active 中也可以看出来。这个句法元素是 H.264 中最重要的句法元素之一,编码器要通知解码器某个运动矢量所指向的是哪个参考图像时,并不是直接传送该图像的编号,而是传送该图像在参考帧队列中的序号。这个序号并不是在码流中传送的,而是编码器和解码器同步地、用相同的方法将参考图像放入队列,从而获得一个序号。这个队列在每解一个图像,甚至是每个片后都会动态地更新。维护参考帧队列是编解码器十分重要的工作,而本句法元素是维护参考帧队列的重要依据。参考帧队列的复杂的维护机制是 H.264 重要也是很有特色的组成部分。num_ref_idx_l1_active_minus1与上一个句法元素的语义一致,只是本句法元素用于 list1,而上一
句法元素用于 list0。constrained_intra_pred_flag,在 P 和 B 片中,帧内编码的宏块的邻近宏块可能是采用的帧间编码。当本句法元素等于 1 时,表示帧内编码的宏块不能用帧间编码的宏块的像素作为自己的预测,即帧内编码的宏块只能用邻近帧内编码的宏块的像素作为自己的预测;而本句法元素等于 0 时,表示不存在这种限制。
3)补充增强信息 SEI
SEI 即补充增强信息(Supplemental Enhancement Information),属于码流范畴,它提供了向视频码流中加入额外信息的方法,是 H.264 标准的特性之一。
SEI的基本特征如下:
- 并非解码过程的必须选项;
- 可能对解码过程(容错、纠错)有帮助;
- 集成在视频码流中。
也就是说,视频编码器在输出视频码流的时候,可以不提供 SEI 信息。虽然在视频的传输过程、解封装、解码这些环节,都可能因为某种原因丢弃 SEI 内容,但在视频内容的生成端和传输过程中,是可以插入 SEI 信息的。这些插入的信息,和其他视频内容一同经过传输链路到达消费端。
SEI 是一种 NAL 单元类型。它的结构大致如下:
// H.264
0x06,n 个 FF 字节 + 1 个非 FF 字节,16 字节 UUID,userData,0x80 或 0x0080
- 开始码:H.264 中 SEI 的 NAL 单元类型是 0x06;H.264 中 SEI 的 NAL 单元类型是 0x4E、0x01。
- 自定义:SEI 除了开始的 NAL 单元类型字段外,还存在不同的子类型。H.264 中第 2 个字节或者 H.265 中第 3 个字节 0x05 表示后续是自定义数据。
- 负载长度:表示后续跟着的自定义数据长度,计算方法是:
n * 255 + XY,也就是将数据长度减去 255,有多少个就写多少个 FF,剩下的如果不为 0,再写一个字节。 - 负载内容:负载内容是 UUID + payload content。UUID 固定 16 个字节,用于区分不同的业务。payload content 表示自定义数据。
4)片 Slice
一帧图像可编码成一个或者多个片,每片包含整数个宏块,分片的目的是为了限制错误码的扩散和传输,使编码片相互间保持独立。
片的结构:

Slice 中的关键参数包括:
slice_type,表示当前片的类型。具体类型如下。其中,IDR 图像时,slice_type等于 2、4、7、9。

pic_parameter_set_id,表示引用的 PPS 的 id。frame_num,表示解码顺序。每个参考帧都有一个依次连续的frame_num作为它们的标识,这指明了各图像的解码顺序。但事实上非参考帧的片头也会出现frame_num。只是当该个图像是参考帧时,它所携带的这个句法元素在解码时才有意义。H.264 对frame_num的值作了如下规定:当参数集中的句法元素gaps_in_frame_num_value_allowed_flag不为 1 时,每个图像的frame_num值是它前一个参考帧的frame_num值增加 1。

field_pic_flag,这是在片层标识图像编码模式的唯一一个句法元素。所谓的编码模式是指的帧编码、场编码、帧场自适应编码。idr_pic_id,IDR 图像的标识。不同的 IDR 图像有不同的idr_pic_id值。值得注意的是,IDR 图像有不等价于 I 图像,只有在作为 IDR 图像的 I 帧才有这个句法元素,在场模式下,IDR 帧的两个场有相同的idr_pic_id值。idr_pic_id的取值范围是[0,65535],和frame_num类似,当它的值超出这个范围时,它会以循环的方式重新开始计数。pic_order_cnt_lsb,在 POC 的第一种算法中本句法元素来计算 POC 值,在 POC 的第一种算法中是显式地传递 POC 的值,而其他两种算法是通过frame_num来映射 POC 的值。
(通过上文的介绍,我们了解了视频编码的理论基础,探讨了 H.264 视频编码的基本概念、编码工具、编码流程及码流结构。对于在 H.264 基础上迭代而来的 H.265 及 H.266 的编码工具及改进,我们将在后面继续探讨,敬请期待)
来源公众号:关键帧Keyframe
版权声明:本文内容转自互联网,本文观点仅代表作者本人。本站仅提供信息存储空间服务,所有权归原作者所有。如发现本站有涉嫌抄袭侵权/违法违规的内容, 请发送邮件至1393616908@qq.com 举报,一经查实,本站将立刻删除。
