头显设备通常结合用户的周围环境向用户的眼睛投射或以其他方式提供虚拟图像。为了需要提供这样的功能,头显必须确定自己的位置、用户的位置、附近有什么物体以及用户在看什么。作为响应,头显可以与一个或多个系统通信以获取数据,从而向头显提供实时信息和图形。所以,头显需要高带宽通信来访问基于云的数据。
但对于Wifi和蓝牙这类基于RF的通信,其带宽有限并且容易受到干扰。微软认为,基于光的通信技术可以解决这样的缺点,并提供优于RF通信的诸多优点。另外,头显不断更新的位置和方向知识可以用来促进基于光的收发器之间的无缝覆盖。
在一个实施例中,头显可以具有至少一个光学收发器。头显的光学收发器可以与至少一个其它光学收发器通信以传送数据。头显对其位置和方向的信息可用于使收发器保持覆盖,从而在头显移动和改变方向时保持连续的数据链路。
根据头显和用户环境中收发器的数量和位置,可以在众多场景中实现光学点对点链路。在一个实施例中,头显可以具有多个光学收发器,其中在任何给定时间,可以基于头显的位置和方向来选择收发器中的一个用于光学通信。
头显的收发器可以基于所选择的收发器将在目标光收发器的光信号覆盖区中的可能性来选择。在一个实施例中,本地环境可以具有多个收发器。在这种情况中,头显端的收发器可以基于所选择的收发器将在目标光学收发器之一的光学信号覆盖区中的可能性来选择。
在一个实施例中,头显端的收发器可以具有可操纵元件,并使得头显收发器能够在头显移动和改变方向时指向目标收发器,例如接入点或其他基于光的设备)。比方说,头显可以具有一个收发器和一组可移动反射镜,以将光信号引导到目标收发器。
在一个实施例中,可以实现电子转向方法,选择性地选择多个收发器中的收发器以提供最佳视线(LOS)。多个收发器的使用可以提供冗余,并允许XR设备和接入点之间能够同时进行多输入多输出通信。这种方法不需要机械组件,所以能够更可靠且更容易制造。电子转向方法可以允许XR设备和接入点周围的全360度覆盖。
在另一个实施例中,可以实现机械转向方法,可以使用单个收发器或一对收发器,并且可以使用MEMS反射镜技术机械转向以将光束指向其对应物。这种方法可以允许收紧波束以实现更长的范围,降低功率,并允许多个同时的信道在空间上分离。
基于头显使用的特定环境,头显收发器可以配置有各种光散射图案。例如,当连接距离预计较短时,头显收发器可以具有较宽的模式,而当基于光的通信距离预计较远时,可以具有较窄的模式。
头显可以具有多个固定的基于光的收发器,或者一个或多个可操纵的收发器。由于头显具有连续确定其位置和方向的能力,因此可以进行各种配置,从而允许基于光的通信系统连续调整其收发器,以维持其基于光的链路。
当然,头显可以额外地利用基于RF的通信来提供与外部系统的额外通信。例如,头显可以利用基于RF的通信向外部系统连续发送头显状态、位置、方位、加速度和其他数据。外部系统可以使用数据将固定的基于光的收发器引导到头显,或者以其他方式帮助建立或维持与头显的基于光通信。

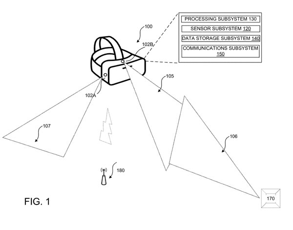
图1示出了基于光的接入点170,其可以具有分布在基于光的访问点170的表面上的一个或多个光源。图1示出了具有两个XR收发器102A和102B的XR设备100。在其他实施例中,XR设备100可以具有沿着XR设备的外部分布的多个收发器。
XR设备100可以配置为使用RF协议与其他设备通信,例如经由无线网络连接。无线网络连接使用蓝牙通信协议或其他合适的无线通信协议来与接入点180通信。
在其他实施例中,可选的主机计算设备(未示出)可以与XR设备100通信,以从XR设备接收数据(包括由XR设备获取或生成的数据),处理这样的数据,并向设备发送控制信号。
XR设备100通常需要信息来确定用户或设备相对于周围环境的位置。另外,应该追踪XR设备100的视点。可以使用各种位置确定方法,包括参考诸如GPS之类的外部系统的方法,以及内部位置估计方法。XR设备100还可以配置为使用对象识别来识别捕获图像内的一个或多个项目。

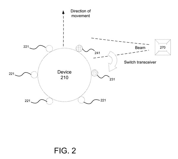
图2示出了XR设备的一个基于光的收发器实现。XR设备210可以具有多个基于光的收发器221、231和241,它们位于XR设备的周边周围。外部接入点270可以发送可以聚焦在给定波束形状上的信号,而给定波束形状最初与XR设备210的收发器241通信。
当XR设备210移动使得光束形状被基于光的收发器231覆盖时,XR设备21可以从收发器241切换到收发器231,以使得能够在XR设备的移动期间由接入点270进行连续覆盖。

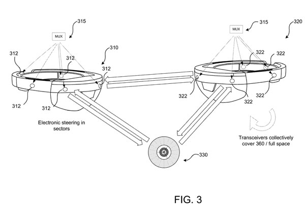
图3示出了XR设备的一个基于光的收发器实现。XR设备310和320可以具有多路复用器315。XR设备310和320还可以具有多个基于光的收发器312和322,它们位于XR设备310320的周围。
外部接入点330可以发射可以聚焦在给定光束形状上的光信号。基于光的收发器312和322可以选择为向接入点330提供最佳的视线。基于光的收发器312和322同样可以选择为在XR设备310和320之间提供视线。
多个收发器312和322在发生故障时提供冗余、重叠覆盖以解决对光信号的阻碍,并实现XR设备310和320与接入点330以及其他接入点之间的多输入多输出通信。图3所示的配置可以提供围绕每个XR设备的全360度覆盖。

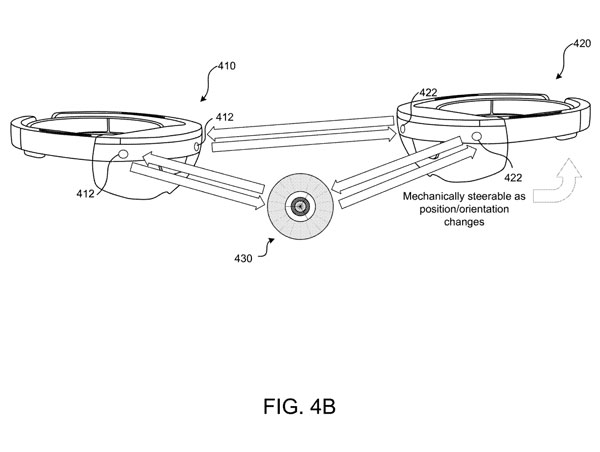
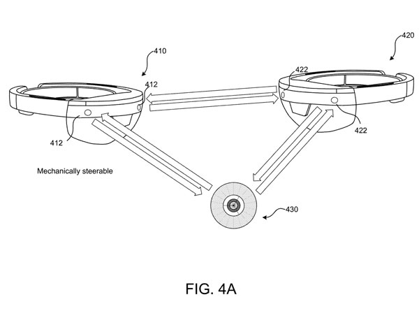
图4A示出了XR设备的另一个基于光的收发器实现。在所述示例中,XR设备410和420可以具有位于XR设备410420处的预定位置处的基于光的收发器412和422。
外部接入点430可以发射可以聚焦在给定光束形状上的光信号。可以机械地选择基于光的收发器412和422,以向接入点430提供最佳的视线。基于光的收发器412和422也可以被机械操纵以在XR设备410和420之间提供视线。
这种方法可以允许对光信号进行更细粒度的整形,并有助于实现更长的范围,降低功率,以及允许多个空间分离的通道。

图4B示出了当XR设备410和420移动时、当接入点430移动时、或两者都移动时,收发器412和422可以机械地操纵以保持到接入点430的视线。
图5和图6是在XR头显中提供基于光的通信的流程图。

参考图5,操作501示出了确定扩展现实头戴式耳机的当前位置和方向。
操作503,确定远程收发器相对于XR头显的当前位置和方位的相对位置。
操作505,计算从基于光的通信收发器到远程收发器的视线。
操作507,致使基于光的通信收发器根据所计算的视线发射基于光的通讯光束。
操作509,响应于远程收发器相对于XR头显的当前位置和定向的相对位置改变,引起对基于光的通信波束的调整。
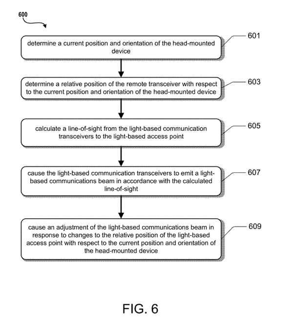
现在转向图6。

操作601,确定XR头显的当前位置和方向。
操作603,确定远程收发器相对于XR头显的当前位置和方向的相对位置。
操作605,计算从基于光的通信收发器到基于光的接入点的视线。
操作607,致使基于光的通信收发器根据所计算的视线发射基于光的通讯光束。
操作609,响应于基于光的接入点相对于XR头显当前位置和方向的相对位置的改变,引起对基于光的通信波束的调整。
作者:OVALIU
原文:https://hololens.nweon.com/5898
版权声明:本文内容转自互联网,本文观点仅代表作者本人。本站仅提供信息存储空间服务,所有权归原作者所有。如发现本站有涉嫌抄袭侵权/违法违规的内容, 请发送邮件至1393616908@qq.com 举报,一经查实,本站将立刻删除。