这些声学专利审查的目的是为期刊读者提供足够的信息,以决定是否从专利本身寻求更多的信息。本文仅代表审稿人个人意见,不属于法律意见。具体专利可在USPTO网站上获得。
本期的审稿人:GEORGE L. AUGSPURGER, Perception, Incorporated, Box 39536 Los Angeles, California 90039ERIC E. UNGAR, Acentech, Incorporated, 33 Moulton Street, Cambridge, Massachusetts 02138

11,414,934:用于输送流体的减谐和减振管件Larry Raymond Bunney, assignor to Kevin Kelm
该专利涉及碳氢化合物提取装置的管状部分的互连。连接管元件之间都有一个弹性管,该管子被封闭在一个套筒中,使其能够承受内部压力。——EEU
11,415,055:交替螺旋状细胞结构及其生产方法
Shawn Alstad and William B. Schuster, assignors to HONEYWELL INTERNATIONAL INC.
一些轻量级的“声学”面板具有内部蜂窝结构,可在一个或两个频率频段内提供大量的吸音。该专利描述了一种设计,其中两组电池以同轴螺旋配置排列。根据该专利,这种结构,“…实现了阻尼各种可听频率所需的声学性能,同时还易于排列并集成到各种声学面板尺寸中,适用于广泛的应用。”——GLA

11,415,056:涡轮发动机排气管道系统和噪声阻尼和衰减方法
Tony Yeung et al., assignors to BJ Energy Solutions, LLC
水力压裂作业可能采用由拖车中的燃气轮机驱动的泵。通过使用吸收衬里的管道可以降低辐射噪声。为了便于运输,管道可以由两部分组成,其中第二部分可以机械调整,以从第一部分延伸不同的长度。——EEU
11,418,878:主动降噪系统和方法的辅助路径识别
Wensen Liu and Govind Kannan, assignors to SYNAPTICS INCORPORATED
用于个人聆听设备(如耳机)的主动降噪系统采用扬声器输出抗噪声信号以消除降噪区域中的噪声,使用误差麦克风配置为感测降噪带内的声音,以及配置为产生抗噪声以通过扬声器播放的逻辑设备。抵消信号由误差麦克风确定。系统可以基于(至少部分地)测量到的取消信号的频率响应和将测量到的频率响应与存储模型进行比较的逻辑设备识别系统的用户,并且可以配置为适应新用户。——EEU
11,418,891:扬声器单元,包括电动扬声器和MEMS扬声器
Andrea Rusconi Clerici Beltrami and Ferruccio Bottoni, assignors to USound GmbH
几年前,通常的做法是通过将小型、轻便的压电高音扬声器直接安装到低音扬声器锥体上来构建低成本同轴扬声器。在此获得专利的设计中,单个高音单元已被驱动高频振膜的多个微机电单元所取代。这种基本布置的主要缺点是低音扬声器振膜的长偏移会调制移动高音扬声器产生的高频。——GLA

11,421,468:使用噪声和加速度关闭服务器机架门
Ruriko Kudo et al., assignors to INTERNATIONAL BUSINESS MACHINES CORPORATION
提供自动关闭计算机服务器机架门的系统。麦克风采集声音数据,加速度传感器采集加速度数据。控制器确定音量何时超过阈值,并识别加速度计数据中的波形,这些波形分别与打开和关闭服务器机架门相关的波形相匹配。控制器使用此信息来确定服务器机架门的打开或关闭,并根据打开和关闭事件的次数提供服务器机架门打开或关闭状态的通知。控制器还会自动关闭服务器机架门,以响应通知。——EEU
11,422,079:粘度传感器
James Masino and Li Gao, assignors to Halliburton Energy Services, Inc.
在含有目标液体的样品管中,共振时会产生感应振动。液体的粘度由这些共振振动的衰减速率决定。——EEU
11,422,477:隔振系统及光刻设备
Roy Hendrikus Emilie Maria Jacobs et al., assignors to ASML Netherlands B.V.
振动会影响光刻设备的性能,因此需要与外部干扰很好地隔离。这需要一个极其“软”的隔离系统,即灵活的隔离系统。在所附的示意图中,要防止振动的物品安装在活塞402上,该活塞402是由一个滚动膜片406密封在一个压力容器404的开口中,该压力容器404充满了加压气体。活塞402通过元件410连接到板弹簧408,该板簧被配置为在其第三屈曲模式下屈曲。其概念是,压缩气体在膜片偏转时向膜片施加更大的力,而屈曲板簧施加到活塞上的力随着活塞挠度的增加而减小——所有这些都是为了接近零固有频率的隔离布置。——EEU

11,425,476:扬声器参数在线提取自适应控制的系统和方法
Markus E. Christoph and John Barry French, assignors to Harman Becker Automotive Systems GmbH
早期的哈曼——贝克尔扬声器专利描述了在运行过程中防止锥体偏移过度和音圈温度过高的复杂方法。这些方法涉及某些基本参数,例如谐振频率和音圈的直流电阻。这项最新专利指出,某些参数可能会随着时间的推移而改变,需要对保护电路进行新的校准。整体保护方案现在包括一个标有“在线参数估计”的新块。将测试信号馈送到扬声器并生成导纳曲线。这被转换为阻抗曲线,该信息用于计算音圈电阻、音圈电感和谐振频率。——GLA
11,425,498:扬声器放大器
Ding Wei et al., assignors to TEXAS INSTRUMENTS INCORPORATED
在该专利中,术语“扬声器”和“扬声器放大器”似乎都表示使用PWM(脉宽调制)放大器的扬声器/放大器模块。PWM设计的一个有趣特性是,降低电源电压只会降低信号增益。它具有与传统音量控制相同的效果。这提供了一种在检测到过载时降低信号电平的便捷方法。这里描述的热过载保护方法在程序信号中添加了一个次声波正弦波(可能是15 Hz)。测量该频率下的电压和电流,并用于计算音圈的温度。当音圈变得太热时,电源电压会降低。——GLA

11,427,115:座椅振动消除系统和方法
Brian G. Maust et al., assignors to Steering Solutions IP Holding Corporation
该系统用于提高车辆操作员的舒适度,该系统利用座椅支撑板,该支撑板可以通过驱动合适机械连杆的电机垂直移动。加速度计的输出经过双重滤波以去除高频成分,所得信号用于确定座椅布置的固有频率,并发送到控制器以驱动电机以消除座椅振动。——EEU
11,432,058:外壳组装和电子设备
Heng Zhang and Shenbo Yan, assignors to GUANGDONG OPPO MOBILE TELECOMMUNICATIONS CORP., LTD.
手机等的外壳需要紧凑。该专利显示了这种设备的扬声器配置,该配置采用两个连接的音室来获得良好的性能。——EEU
11,432,064:用于模拟多种不同耳机型号的音频性能的耳机系统和方法
Tarin Pornrojnangkool and Sarun Wongnoi, assignors to TITUM AUDIO, INC.
潜在买家无需尝试六种不同的耳机,而是可以戴上单个耳机并比较虚拟耳机。它肯定会更快更便捷,但是舒适性、易于存储、工艺质量等未知。——GLA

11,432,098:车辆及其控制方法
Youngbeom Kim et al., assignors to Kia Motors Corporation, Hyundai Motor Company
与标题相反,该专利与控制车辆无关,而是与车辆的音响系统有关。一个或多个座椅的头枕中嵌入了立体声扬声器。头枕上还有一个“压力传感器”,用于跟踪乘员头部的运动。相应地调整扬声器的相对电平以保持适当的立体声平衡。明显的缺陷是,在许多情况下,驾驶员或乘客可以舒适地坐下,而无需靠在头枕上。该专利允许通过包括一个可选的相机来允许这种情况。——GLA

11,432,100:在移动听者的位置可听见的声场的空间化声音再现方法和实现该方法的系统Georges Roussel and Rozenn Nicol, assignors to ORANGE
大型可操纵扬声器阵列可以将声音聚焦在特定听众位置,而溢出到相邻区域的情况可以忽略不计。此外,如果听者的位置由传感器确定,那么对焦点可以跟踪听者的动作。该专利公开了一种跟踪移动听众的方法,该方法通过引入虚拟麦克风和“遗忘因素”来减少计算开销。该专利写得很宽泛,具体细节含糊不清。——GLA

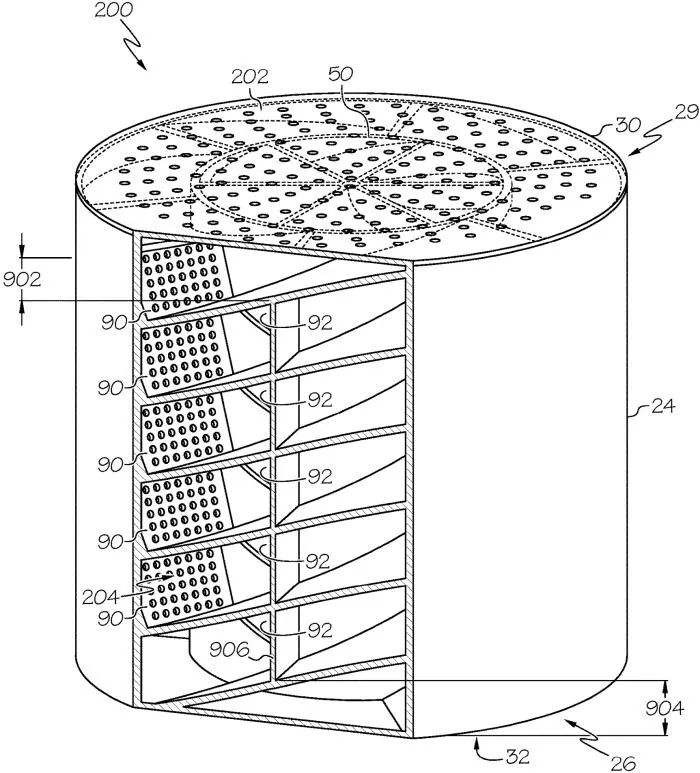
11,434,819:具有增强吸声和降低阻力特性的声学衬垫
Shanmugam Murugappan et al., assignors to MRA SYSTEMS, LLC, GENERAL ELECTRIC COMPANY
一种用于涡轮发动机和类似应用的声学衬套,在附图所示的示例衬套的透视剖视图中进行了说明。衬垫由衬底板204和隔音屏202之间的声学核心200组成。孔径212允许声音通过网状膜渗透到包含共振空间207的共振单元206的细胞结构1100中。——EEU

11,437,012:带多个参考麦克风的耳机 主动降噪和透明度
Hanchi Chen et al., assignors to APPLE INC.
在嘈杂的地方听耳机的人可能希望包括主动降噪的优点。在不同的环境中,佩戴者可能希望在不取下耳机的情况下听到外部声音。这里描述的耳机设计有多个麦克风来拾取外部声音,还有一个内部参考麦克风用于主动降噪。因此,佩戴者可以在三种操作模式之间进行选择。现有技术包括类似多模耳机的多项专利,但在这种情况下也规定了外壳的几何形状。——GLA

11,437,055:提高音乐灵敏度的方法和装置
Jens Hansen et al., assignors to FEELBELT GMBH
增加对声学事件,特别是音乐的感知,是通过将音乐信号转换为皮肤上的振动来实现的。对音乐信号进行处理以强调某些频率分量,并将非感测范围内的信号部分传输到感测范围内。——EEU
11,437,561:声学谐振器
Tae Kyung Lee et al., assignors to Samsung Electro-Mechanics Co., Ltd.
适合批量生产的谐振器由顶部的基板组成,基板堆叠有第一电极、压电层、第二电极和两个保护层。——EEU
11,438,689:扬声器设备
Lei Zhang et al., assignors to SHENZHEN SHOKZ CO., LTD.
这种“扬声器装置”实际上是一种耳机设计。该专利认为,如果耳机盒中包含用户操作的控件和电子元件,则性能可能会受到影响。从那里,该专利进入了一个不可思议的领域,包括外围侧壁、接触位置、振动板、振动导电板、关键模块位置和钥匙孔的详细规格。所有这些都旨在“…产生声音,声音包括至少两个共振峰。”——GLA

信息源于:ASA
版权声明:本文内容转自互联网,本文观点仅代表作者本人。本站仅提供信息存储空间服务,所有权归原作者所有。如发现本站有涉嫌抄袭侵权/违法违规的内容, 请发送邮件至1393616908@qq.com 举报,一经查实,本站将立刻删除。