将 WebRTC 和 SIP 结合在一起是连接现代 Web 应用和传统电话系统的一种有效方法。无论是在浏览器中启用语音和视频,还是将应用程序连接到 PBX 和 SIP 中继,WebRTC SIP 集成都能让用户跨平台通信,而无需特殊硬件或下载。
虽然目标很明确,但集成过程可能很复杂。WebRTC 和 SIP 使用不同的信令协议、媒体格式和安全模型。要使它们可靠地协同工作,需要周到的架构、编解码器处理和兼容性规划。
在本文中,我们将探讨实时网络和电话通信的三种实用集成策略,介绍常见的挑战,并分享基于 WebRTC.ventures 团队构建和部署的生产系统的最佳实践。
为什么要集成 WebRTC 和 SIP?
将 WebRTC 与 SIP 相结合非常合理。SIP 将您的 Web 应用与传统电话系统和电话网络连接起来。WebRTC 则将 Web 友好的点对点通信融入其中。通过融合这两种技术,您可以构建既能在浏览器中运行,又能无缝连接到传统电话线路的应用,从而为用户提供统一的体验。
常见的 WebRTC SIP 集成挑战和解决方案
在探索 WebRTC 和 SIP 之间的集成挑战之前,必须了解它们在处理媒体传输、会话协商、NAT 遍历、安全性和编解码器方面的根本区别。
下表总结了最相关的区别:

协议和编解码器兼容性问题以及媒体转码
WebRTC 强制使用安全加密的RTP ( SRTP),而 SIP 通常默认使用不加密的普通 RTP。常见的编解码器可能会带来兼容性问题,如 G.711(SIP 电话中常用)和 Opus(WebRTC 中常用)无法直接通信。
为了弥合这些差异,通常需要进行媒体转码——更改编解码器或格式,以便不兼容的设备能够相互理解。例如,将使用 G.711 的 SIP 设备与使用 Opus 的 WebRTC 端点桥接起来可能需要转换媒体流。像 Cisco Z70 视频电话这样的硬件可能也需要特殊命令才能与 WebRTC 正常工作。即使使用相同的视频编解码器(例如H264),同步每个设备创建关键帧(视频的起始帧)的时间也可能导致问题。
信令和会话协商差异
在 WebRTC 中,会话详细信息通过 SDP(会话描述协议)进行交换。SIP 也使用 SDP,但两者的处理方式可能有所不同。WebRTC 使用ICE 协议(例如 Trickle ICE)以及STUN 和 TURN服务器来穿越防火墙。相比之下,虽然 SIP 可以使用 ICE,但支持通常不完整或因实现而异。这些差异使得两个系统的连接更加复杂。
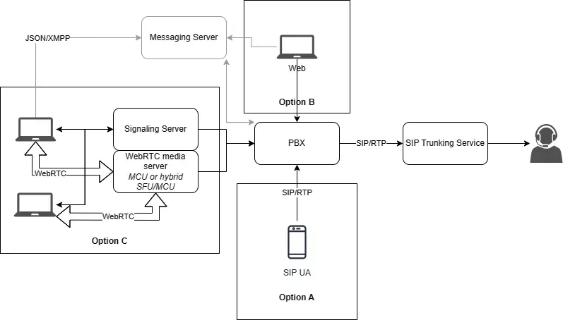
WebRTC SIP 集成:架构方法

以下是三种经过验证的模式,每种模式都有其优缺点:
直接使用 SIP 与 WebRTC(方法 A)
Web 和移动应用程序通过 SIP 协议,经由网关和代理直接连接。媒体直接流入 SIP 服务器,由服务器处理对传统电话的呼叫。

SIP 与 WebRTC 架构直接集成的优势
- 如果您的系统已经使用 SIP,那就太好了
- 支持旧版功能
SIP 与 WebRTC 架构直接集成的局限性
- 由于媒体混合(MCU)导致服务器负载更大
- 固定视频通话布局
- 如果您是 SIP 新手,学习难度会比较高
使用 SIP 通过 WebSocket 发送信号(方法 B)
WebRTC 客户端通过 WebSocket 将信令数据发送到您的服务器,然后服务器处理 SIP 信令。这将媒体与信令分离。
WebSocket 信令与 SIP 后端架构的优势
- 更轻松的客户端开发
- 灵活选择信令协议
WebSocket 信令与 SIP 后端架构的局限性
- 服务器 CPU 使用率较高
- 限制布局
- 如果优化不当,会出现延迟问题
带有 SIP 网关的媒体服务器(方法 C)
媒体服务器(如 SFU 或 MCU)处理媒体流,而 SIP 网关连接到电话网络。

使用了 Janus 和 FreeSwitch 的示例
在实现具有 SIP 网关架构方法的媒体服务器时使用的流行开源框架包括:Asterisk、FreeSwitch、LiveKit、MediaSoup、OpenVidu(以前称为 Kurento)、Janus 和 Jitsi。
采用 SIP 网关架构的媒体服务器的优势
- 更加灵活、可扩展
- 支持高级 WebRTC 功能,例如同步广播和视频质量自适应
- 大型通话的经济高效
采用 SIP 网关架构的媒体服务器的局限性
- 需要管理的架构更加复杂
- 需要良好的媒体管理
- 监控和故障排除变得更加棘手
WebRTC SIP 集成的最佳实践
以下最佳实践解决了 SIP WebRTC 集成中发现的最常见痛点,重点是优化基础设施、信令、媒体互操作性和可观察性。
通过主动规划这些实际考虑,您可以在 SIP 和 WebRTC 端点上提供无缝且有弹性的通信体验。
WebRTC SIP 基础设施规划和可扩展性的最佳实践
- CPU 密集型转码工作负载的预算
- 考虑在靠近用户的地方部署 STUN/TURN
- 监控通往 SIP 中继的网络路径。不仅要监控信令延迟,还要监控 RTP 路径特性(例如丢包、抖动)。SIP 提供商的媒体性能差异很大。
WebRTC SIP 信令稳健性和错误处理的最佳实践
- 使用具有自动重新连接功能的 WebSocket
- 检测网络路径变化(例如,移动客户端将 Wi-Fi 切换到 LTE)并触发 ICE 重启
- 验证所有 SDP 流程,包括特殊情况(例如,重新邀请、更新)
- 媒体控制协调:实现 SIP INFO 或 re-INVITE 以用于保持/静音,并将 RTCRtpSender.track.enabled 一致映射到 SIP 信令。例如,确保电话系统中静音状态的更改能够反馈回 WebRTC 客户端,以避免用户产生混淆。
WebRTC SIP 编解码器策略和媒体优化的最佳实践
- 预先协商编解码器优先级(Opus ↔ G.711、VP8 ↔ H.264 基线)
- 如果可能的话,最好使用端到端 Opus 以获得最佳语音质量
- 转码作为最后的手段
- DTMF 处理:许多 SIP 中继需要 RFC 2833 RTP DTMF 事件,而 WebRTC 通过RTP 事件传输 DTMF 。请确保您的网关正确桥接这些信号。
WebRTC SIP 可观察性和 QA 的最佳实践
- 端到端仪器调用流程
- 关联信令日志和 RTP 统计数据。像 Homer 这样的开源工具是个不错的选择。
- 持续测试通话场景(浏览器到手机、手机到浏览器、多方)
- 模拟不利条件(高抖动、数据包丢失)以验证系统弹性
WebRTC SIP 集成的未来
随着实时通信平台的不断发展,WebRTC 与 SIP 之间的集成也必须不断调整,以支持新兴的用户期望和技术。展望未来,多种趋势正在塑造这种集成的未来——从多模式通信工作流到 AI 驱动的增强功能和沉浸式协作环境。这些进步不仅将拓展可能性,还将带来新的互操作性挑战,开发人员和架构师必须做好准备来应对。
- 多模式或多渠道通信:用户期望在聊天、语音和视频之间实现顺畅的切换。标准化 API 和 CPaaS 平台加速了这种融合。
- 人工智能驱动的丰富和自动化:实时转录、语言翻译甚至智能路由正在成为基本期望。
- 沉浸式协作:虚拟环境和化身将超越简单的视频图块,为 SIP 和 WebRTC 带来新的互操作挑战。
随着人工智能、多渠道工作流程和沉浸式体验成为标准,我们必须构建模块化、适应性强且随时可发展的系统。
规划您的 WebRTC SIP 集成
正如本指南所示,WebRTC 与 SIP 的集成是一个复杂的过程,需要深厚的技术专业知识、周密的架构规划以及在各种网络条件下的全面测试。成功应对这些挑战对于提供可靠、无缝的通信体验至关重要。
驾驭复杂的 WebRTC-SIP 集成并非易事。WebRTC.ventures 的专家将竭诚帮助您将愿景转化为强大且可立即投入生产的解决方案。我们提供全方位的定制服务,以满足您的需求:
- 架构设计与咨询:根据您的具体需求定制解决方案蓝图
- 全栈实施:使用现代框架和协议进行端到端开发
- 性能优化:编解码器调整、延迟减少和可扩展性改进
- 测试与质量保证:跨设备、网络和边缘情况的全面测试
- 迁移和集成:与现有电话基础设施无缝集成
- 持续维护:持续监控、更新和性能优化
作者:Alberto Gonzalez
译自:https://webrtc.ventures/2025/07/webrtc-sip-integration-advanced-techniques-for-real-time-web-and-telephony-communication/
本文来自作者投稿,版权归原作者所有。如需转载,请注明出处:https://www.nxrte.com/jishu/webrtc/60232.html