语音呼叫质量在整个IP语音环境中是一个非常重要的指标,从运营商端,到企业终端用户对语音质量是比较敏感的。语音呼叫的质量和很多因素相关,同时在关于语音质量方面的评价方式也有所不同。电信运营商可能使用统一的ITU的E-model来定义,而话务运营服务提供商可能是通过ACD(平均呼叫时长)来针对语音质量进行评价。针对行业本身,这些评价是相对合理的。但是,在涉及到具体呼叫环境中,很多动态的因素可能有一定的相关性,一些研究人员针对呼叫时长中的语音质量和其他依赖关系对呼叫时长和相关性做了比较深度的分享。今天,笔者就这些分析和大家做一个分享。
关于语音质量评价的多维度讨论
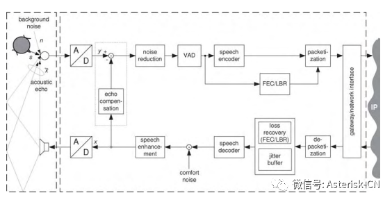
评价一个呼叫的语音质量涉及了多个要素和维度。其中,平均呼叫时长相关影响要素可能是网络拥塞,回声,时延,抖动,过多呼叫节点,节点处理能力,低质量的语音编码等。其假设前提是高呼叫时长意味着比较好的用户体验。从以下呼叫的路径我们可以看出每个呼叫节点的影响要素。

以下统计数据是从比较高级的或者上层网络的技术架构中,使用多种语音编码以后的语音质量的评价标准。


笔者针对这些关于语音质量评价中的MOS,RTCP-XR发布过比较完整的文档,读者可以进一步学习参考:
完整SIP网络技术系列讲座-SIP和QoS相关的编码,MOS,RTCP-XR讨论
SIP网络中影响QoS十大因素和语音质量量化指标-MOS/R-Factor以及各种编码使用研究分享
以上讨论的这些影响语音质量的要素完全存在于多种网络环境中的,评价变量也是相对固定的。可能在实际生产环境中,很多变量是动态的,变化的,所以单纯使用固定变量来评价语音质量可能存在一定的偏差,不能真实完全体现用户的体验。一些研究人员尝试从动态的,呼叫关联的角度对这些相关性做了分析。接下来,我们重点分享这些分析结果。
关于ACD和其他依赖更新的动态分析在以下的研究报告分享中,研究人员-Jan Holub通过多种评价要素的组合,在一个呼叫时长中针对呼叫质量的波动进行的研究。这些研究成果可以帮助我们从一个动态环境中了解呼叫语音质量的变化,从而让我们对语音质量评价的有一个更加全面的了解。研究人员主要从ACD和编码的依赖关系,和网络测试性能和用户体验三个角度进行分析。
研究人员通过CDR中的呼叫记录(大概160万呼叫),不同时长结合其系统的RTP包,不同语音编码,和MOS,E-model综合评价来输出一个呼叫质量统计。以下是不同编码测试占比

首先,在分析语音质量时,研究人员针对其语音质量和其它依赖关系所做的分析。以下是不同编码和ACD等的依赖关系以及相关输出结果,显示使用G.711的ACD比G.729长40%的时长。

其次,在呼叫质量和网络传输性能的依赖关系的分析中,重点分析了CMR(Critical Minute Ratio)在ACD中的影响。使用何种编码取决于运营商的传输机制。传输质量又收到丢包,抖动和网络传输的性能决定。通过以下数据读者可以看到,当CMR是35%时,ACD突然从230降到了110多,这可能是因为网络丢包或者网络抖动带来的网络表现差,最终导致呼叫时长受影响。当CMR达到75%左右时,ACD值又开始上升。

最后,呼叫时长和用户体验的依赖关系分析,这里使用的是E-model,这里研究人员使用E-model生成了R-factor值。以下是E-model,R-factor以及MOS的相关性分析数据。

在ACD最高值为220多,最后滑落到了130多,此时MOS值也从4.2多下降到了1.2多。

根据以上研究结果,研究人员的结论是,呼叫时长不能作为用户体验的指示标准;另外,编码和网络传输的性能影响呼叫时长。
总结语音质量的评价体系和手段基本上已经非常成熟,而且也完全可以量化。目前,运营商和话务服务提供商都有各自的评价手段方式,终端也支持了各种量化指标。这些讨论在笔者的历史文档和前面章节都有所讨论。
研究人员针对ACD和三种依赖指标编码,网络传输性能和用户体验分别做了分析,我们根据这些分析结果可以某些看出ACD和这些依赖关系的相关性。但是,研究结果是动态环境中产生的,另外缺乏商业测试产品的支持,可能缺乏真正的实际重现的可能性。笔者建议此分析结果作为一种新的关于语音质量分析的角度,读者可以比较全面来分析研究语音质量。
参考资料:
Jan Holub,Analysis of the Dependency of Call Duration on the Quality of VoIP Calls
www.sip.org.cn
www.dinstar.cn
https://www.itu.int/rec/T-REC-G.107.2-201906-I/en
https://opus-codec.org/comparison/
作者:james.zhu
来源:SIP实验室
原文:https://mp.weixin.qq.com/s/x5RLg1dUhu0Qc8Jpme7GqQ
版权声明:本文内容转自互联网,本文观点仅代表作者本人。本站仅提供信息存储空间服务,所有权归原作者所有。如发现本站有涉嫌抄袭侵权/违法违规的内容, 请发送邮件至1393616908@qq.com 举报,一经查实,本站将立刻删除。