今天接着讲解即时聊天室开发历程0.0.4版,想了解上一篇文章的朋友们可查看即时聊天室开发0.04版:聊天内容维护管理
接着上个版本的最后规划,需要将聊天内容取出来显示在后台,还有加一些操作对聊天内容进行维护。
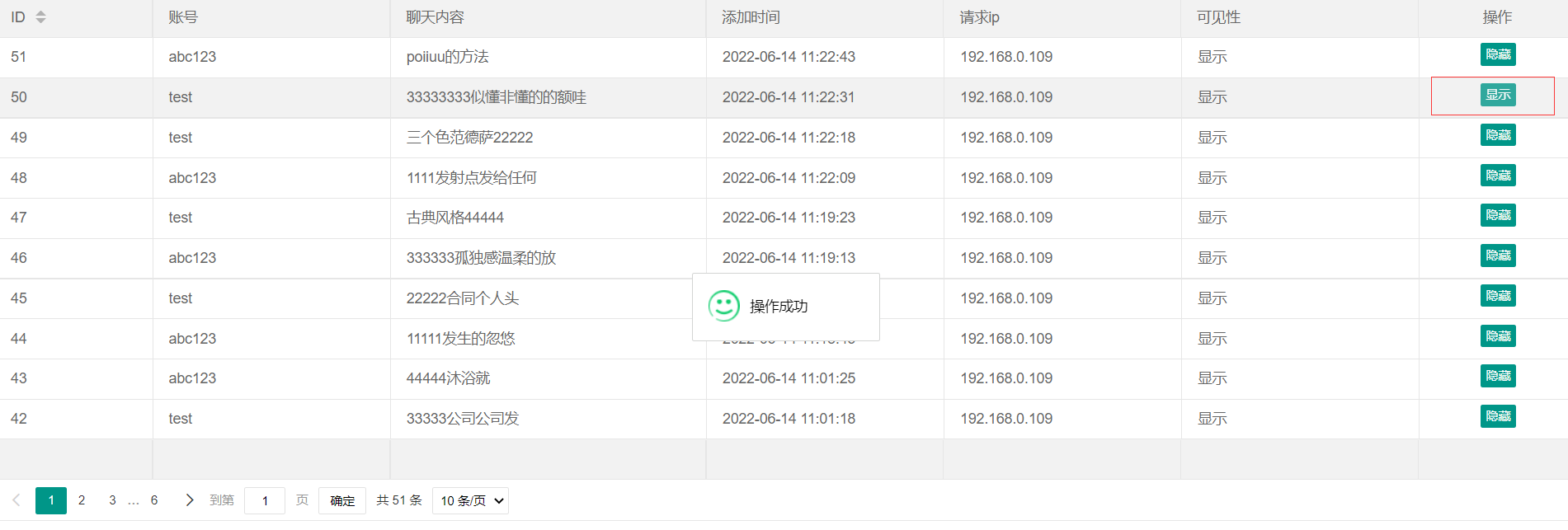
先上一张已完成的后台页面效果图

后台要显示的聊天数据一般都是数据表里面的所有数据,图示实现了分页,另外还加上了“隐藏/显示”按钮来对聊天数据进行维护。后台前端UI框架采用了layui,还使用了jquery。如果大家熟悉vue.js+对应UI框架,就推荐用vue那套。另外表格进行了自适应处理
使用jquery+layui很简单,引入几个文件即可
<script src=”jquery-3.2.1.min.js”></script>
<link href=”layui/css/layui.css” rel=”stylesheet” type=”text/css” />
<script src=”layui/layui.js”></script>
实现一个表格也很简单,由于无法很好的黏贴,上图了




以上就是后台前端的所有代码。
隐藏的功能指的是将在线聊天内容隐藏,显示的功能指的是将在线聊天内容恢复。
服务端websocket连接发送数据和返回数据都增加协议号,以便区分不同操作

chat_handler方法如下:
public static function chat_handler(SwooleWebSocketServer $server, SwooleWebSocketFrame $frame, Array $request_data)
{
$user_token = new UserTokenModel();
$user_token_result = $user_token->get([
'token' => $request_data['token']
]);
if ($user_token_result === NULL) {
$server->push($frame->fd, json_encode([
'protocol' => 10000,
'code' => -1,
'msg' => '未登录'
]));
} else {
$user_token_result = $user_token_result->toArray();
$user = new UserModel();
$user_result = $user->get([
'id' => $user_token_result['user_id']
]);
$user_result = $user_result->toArray();
$user_chat = new UserChatModel();
$user_chat['user_id'] = $user_result['id'];
$user_chat['content'] = $request_data['send_data'];
$user_chat['ip'] = $server->getClientInfo($frame->fd)['remote_ip'];
$user_chat_id = $user_chat->save();
foreach($server->table as $row)
{
$server->push($row['fd'], json_encode([
'protocol' => 10000,
'code' => 1,
'data' => [
'id' => $user_chat_id,
'account' => $user_result['account'],
'content' => $request_data['send_data']
]
]));
}
}
}
uniapp前端发送和接收数据也增加协议号处理


uniapp前端存储的聊天数据改为使用json编码,代码如下:
chat_handler(obj){
if (obj.code == 1) {
let key = uni.getStorageSync('extraLine');
let list = JSON.parse(key);
list.push(obj.data);
let new_str = '';
list.forEach((item,index)=>{ //js遍历数组
new_str = new_str + item.account + ':' + item.content + 'n';
});
that.title = new_str;
uni.setStorageSync('extraLine', JSON.stringify(list));
} else {
console.log(obj.msg);
}
},
展示下客户端聊天界面


以上是test和abc123用户的聊天界面,然后在管理后台页面对其中一条聊天信息进行隐藏,点击隐藏后如下图所示

再看看test和abc123账号的用户的聊天界面


效果立杆见影,马上就隐藏掉在线用户的聊天信息,后台显示聊天内容的功能就是恢复在线聊天内容,就不演示了。此隐藏功能可对用户已经发送的违法违规等聊天内容进行处理,当然以后还可以实现踢人下线,封号等一系列处理。而显示功能只是为了万一处理错了,能给用户恢复而已。
这个即时聊天室的系列开发历程我想也就告一段落,毕竟也越来越复杂了。这其中我的编码也出现了很多逻辑问题,但是我想告诉大家,人谁无错,知错能改就可以了。哪个成熟的软件没有经历出错然后不断迭代修复的阶段呢,关键是肯花费时间和人力成本去完善,不要因为市场一时的变化而对自己产品的不自信。
作者:负重前进的篮球
版权声明:本文内容转自互联网,本文观点仅代表作者本人。本站仅提供信息存储空间服务,所有权归原作者所有。如发现本站有涉嫌抄袭侵权/违法违规的内容, 请发送邮件至1393616908@qq.com 举报,一经查实,本站将立刻删除。